Tehno magazin
Audio
Video
PC računala
Mobilni telefoni
Elektronika
Kućanski aparati
Novosti
 

Odlemljivanje

Kako odlemiti i zalemiti SMD chipove

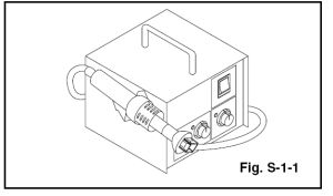
Pomoću stanice za odlemljivanje s vrućim zrakom (flat pack IC desoldering machine):

  1. Pripremite stanicu za odlemljivanje s vrućim zrakom i zagrijavajte smd chip oko 5 do 6 sekundi. (slika 1)
  2. Uklonite smd chip s pincetom dok ga zagrijavate s vrućim zrakom.
  3. Dno chipa je fiksirano s ljepilom na pločicu, kad odlemljujete cijeli chip, prvo zagrijte centar chipa s lemilicom. Zatim oslobodite chip s pincetom (ljepilo će se rastopiti). (Slika 6).

 

 

Oprez:

  1. Smd chipovi mogu se razlikovati zavisno od tipa kućišta. Upotrijebite odgovarajući nastavak lemne stanice čiji oblik odgovara kućištu chipa.
  2. Nemojte zagrijavati dijelove koji se nalaze u blizini chipa duže od 6 sekundi jer ih to može oštetiti. Stavite zaštitnu traku oko chipa kako bi zaštitili druge dijelove. (slika 2).
  3. Smd chip je fiksiran na pločicu pomoću ljepila, pa zato pazite kod pomicanja chipa da ne oštetite kontaktne folije na koju je svaki pin zalemljen i nalaze se ispod chipa.

S lemilicom:

  1. Uz pomoć trake ili žice za odlemljivanje uklonite lem sa svih pinova na smd chipu. Chip možete lako ukloniti kad koristite fluks za lemljenje kojim se premazuju svi pinovi na smd chipu. (slika 3).

  1. Podignite jedan po jedan  pin smd chipa prema gore korištenjem oštre igle ili željezne žice na koju se lem ne prima. Kad zagrijavate pinove, koristiti finu lemilicu za smd chipove ili stanicu za odlemljivanje s vrućim zrakom. (slika 4).

  1. Dno chipa je fiksirano s ljepilom na pločicu, kad odlemljujete cijeli chip, prvo zagrijte centar chipa s lemilicom. Zatim oslobodite chip s pincetom (ljepilo će se rastopiti). (Slika 6).

S željeznom žicom:

  1. Uz pomoć pletenice ili žice za odlemljivanje uklonite lem sa svih pinova na smd chipu. Chip možete lako ukloniti kad koristite fluks za lemljenje kojim se premazuju svi pinovi na smd chipu. (slika 3).
  2. Učvrstite žicu na radni stol ili na neku čvrstu točku, kako je prikazano na slici (slika  5).
  3. Dok zagrijavate pinove korištenjem fine lemilice ili s puhalicom s vrućim zrakom, povucite žicu kad se lem rastopi i podignite pinove na chipu kako bi ih odvojili od pločice. (slika 5).
  4. Dno chipa je fiksirano s ljepilom na pločicu, kad odlemljujete cijeli chip, prvo zagrijte centar chipa s lemilicom. Zatim oslobodite chip s pincetom (ljepilo će se rastopiti). (Slika 6).

Napomena:

Kad koristite lemilicu, morate paziti da smd IC nije zalijepljen na pločicu. Pažljivo ga uklonite.

Lemljenje chipova

Kod lemljenja koristite lem bez dodatka olova, što zahtjeva za 30 stupnjeva veću temperaturu lemilice (umjesto 220˚C do 240˚C potrebna temperatura je 250˚C do 260˚C)!

  1. Uz pomoć žice za odlemljivanje uklonite lem sa svih kontakata za pinove na pločici tako da možete lakše zalemiti novi chip.
  2. Oznaka točke "·" na chipu označuje pin 1. (slika 7) Pazite da se ova oznaka s poklapa s oznakom za pin 1 na pločici. Najprije zalemite 4 pina na uglovima chipa. (slika 8).
  3. Zalemite sve pinove na smd chipu. Uz pomoć povećala provjerite sve pinove jesu li ispravno zalemljeni i nema li kontakata između susjednih pinova.

 

                   

 

9 min. overview video demonstrating Surface Mount Soldering with inexpensive equipment. Includes soldering of a 603 resistor, PLCC, 44 pin QFP, 208 pin fine-pitch QFP, desoldering using hot air and ChipQuik®, and prototyping with SchmartBoards®.

 
    

 
 
 
 
   Elektronika

 

bullet

LED - svjetleće diode

bullet

Odlemljivanje SMD chipova

 

Copyright © 2007 Tehnomagazin.com
Terms & Conditions                                        Privacy Policy                                                Impressum